Rivian R1T รถกระบะขุมพลังไฟฟ้าล้วนที่วางจำหน่ายในอเมริกาเหนือมาตั้งแต่เดือนกันยายน 2021 พร้อมด้วยอุปกรณ์ทันสมัยจำนวนมาก และได้รับความนิยมอย่างไม่ขาดสาย อย่างไรก็ตามออฟชั่นที่จะสร้างความตื่นตาตื่นใจให้กับผู้ใช้งานสายกิจกรรม Outdoor หรือสายแคมป์ปิ้ง ยังคงมีช่องว่างในการพัฒนาจากบรรดาผู้ผลิตรถยนต์อีกมาก จึงเป็นที่มาของสิทธิบัตรฉบับล่าสุดของค่าย Rivian นี้ ที่จะเปลี่ยนรถกระบะคันโต ให้กลายเป็นโรงภาพยนตร์เคลื่อนที่
โดยทั่วไปแล้ว ฟังก์ชั่นที่ขาดไม่ได้ของสายแคมป์ปิ้งจะเกี่ยวเนื่องกับชุดครัวเพื่อทำการประกอบอาหารระหว่างการค้างแรมได้อย่างสะดวก เนื่องจากไม่มีร้านอาหารให้จับจ่ายใช้สอยท่ามกลางธรรมชาติ จึงเป็นที่มาของฟังก์ชั่นชุดครัวเคลื่อนที่ซึ่งมีให้เลือกใช้งานในรถกระบะแบรนด์ Rivian อยู่แต่เดิมแล้ว
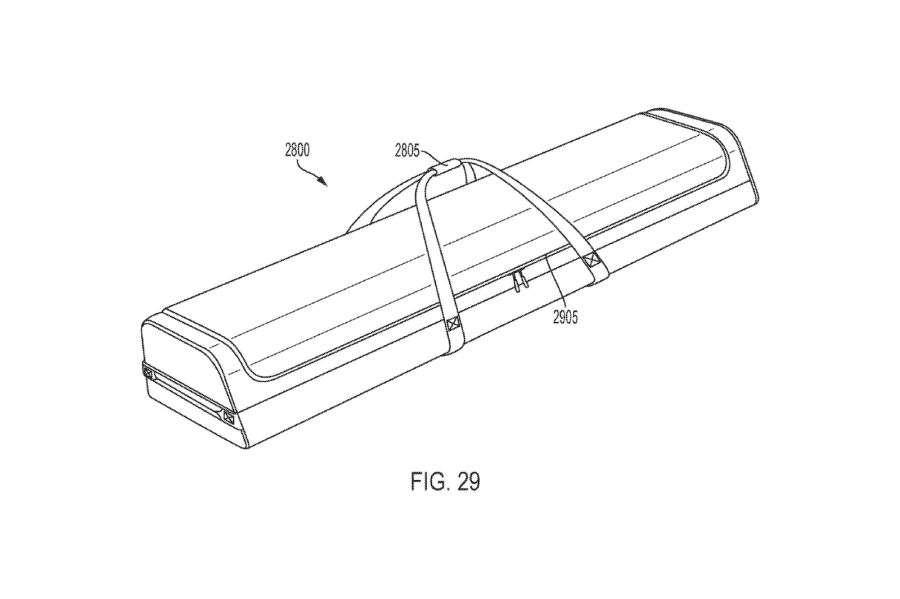
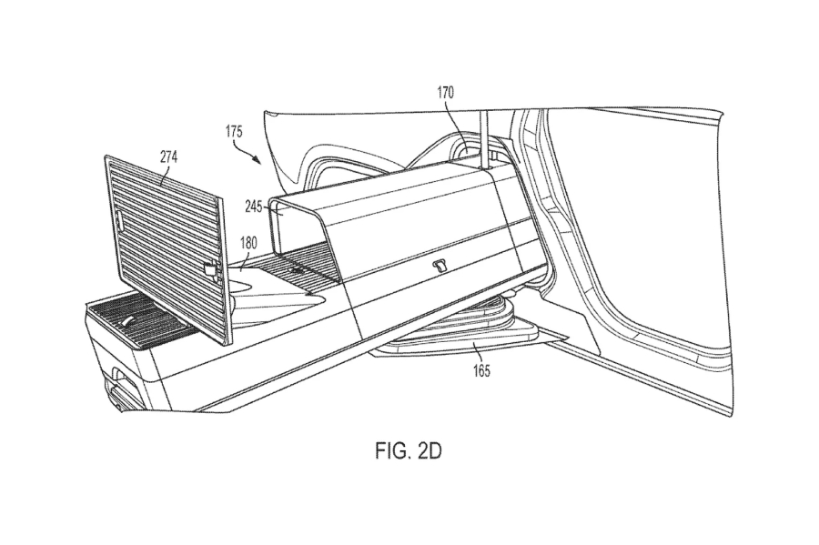
ทว่า สิทธิบัตรฉบับใหม่นี้ได้รับการจดทะเบียนในสารบบของสหรัฐอเมริกาและสำนักงานเครื่องหมายการค้า ในหัวข้อโรงภาพยนตร์เคลื่อนที่ในรูปแบบ Outdoor ซึ่งจะแตกต่างจากสิทธิบัตรอื่นๆ ที่เปลี่ยนรถยนต์ให้กลายเป็นโรงภาพยนตร์โดยการใช้หน้าจอที่ติดตั้งภายในห้องโดยสาร ซึ่งจะไม่เหมือนกับแนวคิดของ Rivian ที่ติดตั้งโปรเจคเตอร์ฉายภาพและหน้าจอแบบพับเก็บได้ไว้ที่ด้านข้างของกระบะท้าย และสามารถนำออกมาใช้งานภายนอกรถได้
ยิ่งไปกว่านั้น ในโครงสร้างที่เป็นลิ้นชักซ่อนอยู่ในกระบะด้านท้ายยังซ่อนชุดลำโพงไร้สาย เพื่อเพิ่มอรรถรสในการรับชมอย่างครบเครื่องอีกด้วย พร้อมด้วยชุดกระจกในการขยายภาพให้ใหญ่โตมากยิ่งขึ้น และแน่นอนว่าทั้งหมดนี้จะใช้พลังงานไฟฟ้าจากแบตเตอรี่หลักของรถ Rivian R1T
Rivian ยังไม่ประกาศราคาออฟชั่นชุดหน้าจอโปรเจคเตอร์ แต่สามารถอ้างอิงราคาออฟชั่นชุดครัวเคลื่อนที่มีราคาจำหน่าย 5,000 เหรียญสหรัฐฯ หรือประมาณ 175,900 บาท อย่างไรก็ตาม ราคาออฟชั่นชุดโปรเจคเตอร์อาจจะมากกว่า ชุดครัว
ที่มา: Carscoops
