Ferrari ได้จดสิทธิบัตรเทคโนโลยีใหม่ที่ช่วยทำให้เครื่องยนต์ V12 มีขนาดสั้นลง ด้วยการใช้ลูกสูบทรงวงรี และออกแบบก้านสูบใหม่เพื่อลดความยาวของเครื่องยนต์ ซึ่งจะช่วยให้สามารถติดตั้งเครื่องยนต์ V12 ในรถที่มีขนาดเล็กลงได้ หรือเพิ่มพื้นที่สำหรับการติดตั้งระบบ Hybrid ได้
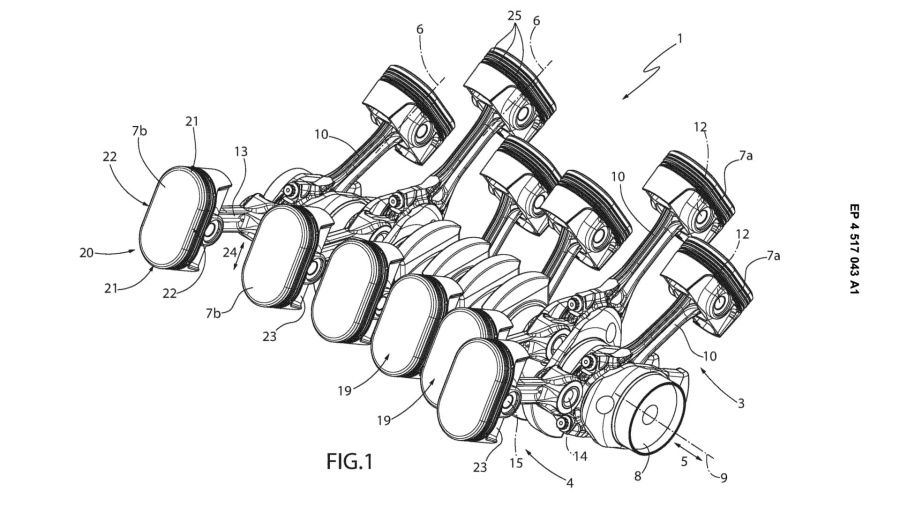
โดยปกติแล้ว เครื่องยนต์ V12 จะมีความยาวมากกว่าเครื่องยนต์ประเภทอื่นๆ เนื่องจากมี 6 สูบในแต่ละฝั่งของเครื่องยนต์ Ferrari จึงพัฒนาแนวคิดการใช้ลูกสูบทรงวงรี ซึ่งมีด้านข้างที่แบนและด้านสั้นที่โค้งมน แทนที่จะเป็นลูกสูบกลมแบบดั้งเดิม ทำให้สามารถจัดเรียงกระบอกสูบให้ชิดกันมากขึ้น ลดระยะห่างระหว่างบ่าวาล์ว โดยที่ยังคงความจุกระบอกสูบของเครื่องยนต์เท่าเดิม
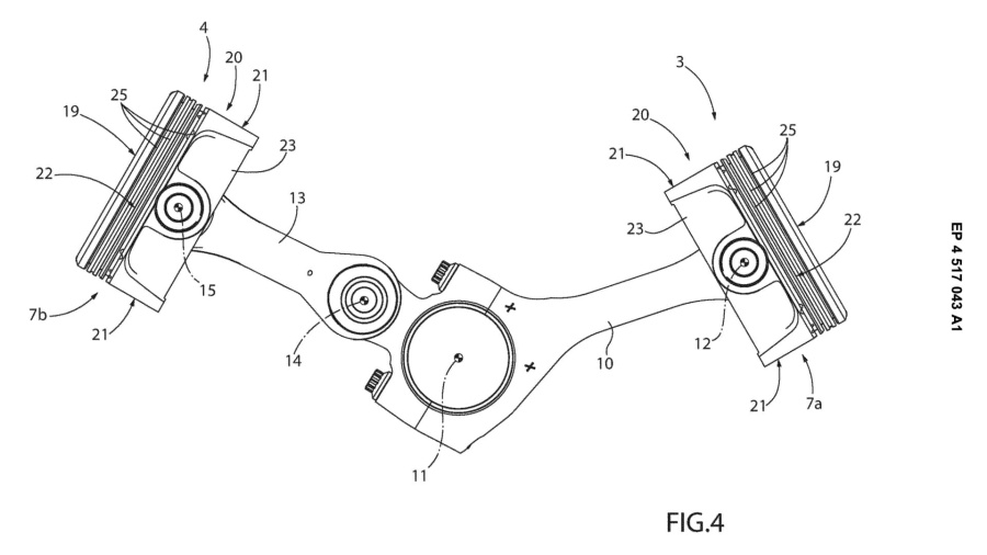
อีกทั้งเครื่องยนต์ V12 แบบดั้งเดิมจะมีการเยื้องก้านสูบของลูกสูบฝั่งซ้ายและขวา ทำให้เครื่องยนต์มีความยาวเพิ่มขึ้น แต่ Ferrari ออกแบบให้ก้านสูบของลูกสูบฝั่งซ้ายเชื่อมต่อกับฝั่งขวาผ่านชิ้นส่วนพิเศษ โดยใช้ก้านสูบที่สั้นกว่าและติดตั้งจุดยึดแยกต่างหาก ส่งผลให้กระบอกสูบทั้งสองฝั่งอยู่ในแนวขนานกันอย่างสมบูรณ์ ไม่ถูกเยื้องออกจากกันแบบ V12 ดั้งเดิม
การลดขนาดเครื่องยนต์ V12 ไม่เพียงแต่จะช่วยให้ห้องเครื่องมีขนาดเล็กลง แต่ยังสามารถวางลงไปในตัวรถขนาดเล็กได้ และยังเหลือพื้นที่สำหรับติดตั้งมอเตอร์ไฟฟ้าในระบบ Hybrid ได้ นอกจากนี้ โครงสร้างเครื่องยนต์ที่สั้นลงอาจทำให้น้ำหนักของชุดข้อเหวี่ยงลดลง ซึ่งอาจช่วยให้เครื่องยนต์ทำงานที่รอบสูงได้ดียิ่งขึ้น
อีกหนึ่งจุดเด่นของลูกสูบวงรีคือความสามารถที่จะเพิ่มจำนวนหรือขนาดของวาล์วไอดีและไอเสียได้ ซึ่งจะช่วยเพิ่มประสิทธิภาพการไหลของอากาศและเพิ่มกำลังสูงสุดของเครื่องยนต์ อย่างไรก็ตาม สิทธิบัตรของ Ferrari ไม่ได้กล่าวถึงรายละเอียดของฝาสูบหรือกลไกวาล์วดังกล่าวเพิ่มเติม
อย่างไรก็ตาม ยังไม่มีข้อมูลยืนยันว่า Ferrari จะนำแนวคิดนี้มาใช้ในเครื่องยนต์จริงหรือไม่ โดยทางสื่อต้นทางได้ให้ความเห็นว่า บริษัทต้องการจดสิทธิบัตรเพื่อป้องกันการใช้เทคโนโลยีซ้ำซ้อนจากคู่แข่ง หรืออาจมีแผนพัฒนาเพื่อรับมือกับกฎข้อบังคับด้านมลพิษที่เข้มงวดขึ้นในอนาคต
ดังนั้น หาก Ferrari ต้องการวางจำหน่ายเครื่องยนต์ V12 ต่อไป ทางค่ายม้าลำพองจะต้องมีแนวทางการออกแบบเครื่องยนต์เพื่อให้สามารถผ่านมาตรฐานการปล่อยมลพิษและยังคงสมรรถนะที่เป็นเอกลักษณ์ของแบรนด์เอาไว้ได้อีกด้วย
ที่มา: Motor1
Ferrari จะผลิตเครื่องยนต์ V12 ต่อไปจนกว่ากฎหมายจะบังคับห้ามจำหน่าย
