หลังจากที่ Mazda ห่างหายไปนานกับการเปิดตัวและจำหน่ายรถสปอร์ตตัวแรงของค่าย ที่มักใช้ขุมกำลังเครื่องยนต์โรตารีซึ่งเรารู้จักกันดีในรุ่น RX-7 และ RX-8 พวกเค้าก็สร้างความตกใจให้กับสาวกอีกครั้ง ด้วยการจดสิทธิบัตรที่ถูกจดขึ้นในยุโรป สำหรับความพิเศษของสิทธิบัตรนี้ อยู่ที่ดีไซน์ของเครื่องยนต์ที่มาแบบ 3-rotor โดยสิทธิบัตรนี้ถูกค้นพบโดยเว็บบล๊อคจากประเทศญี่ปุ่นที่ใช้ชื่อว่า taku2_4885
หากย้อนวันวานไปถึงเมื่อต้นยุคปี 90 Mazda มีรถสปอร์ตคูเป้สุดหรูแบบ 2+2 ที่นั่ง ออกจำหน่ายในชื่อโมเดล Cosmo ที่ได้สิทธิ์ในการวางเครื่องยนต์ รหัส 20B-REW แบบ 3-rotor แต่เพียงผู้เดียว ในส่วนของรถสปอร์ต RX-series ที่ผ่านมาทุกรุ่นจะใช้เครื่องยนต์ที่มีจำนวนมากสุดแค่ 2-rotor เท่านั้น
ในช่วงหลายปีที่ผ่านมา มีข่าวคราวและสิทธิบัตรจากทาง Mazda ที่เกี่ยวข้องกับรถสปอร์ตตัวใหม่ที่จะมาสานต่อตำนานอันเลื่องชื่อทยอยหลุดมาอย่างต่อเนื่อง แต่ทว่า มันมักจะทำให้เหล่าแฟนๆ ได้รอเก้ออยู่เสมอ เพราะ Mazda ไม่เคยประกาศแผนการผลิตจำหน่ายอย่างเป็นทางการ รวมไปถึงสิทธิบัตรอันล่าสุดเช่นเดียวกัน
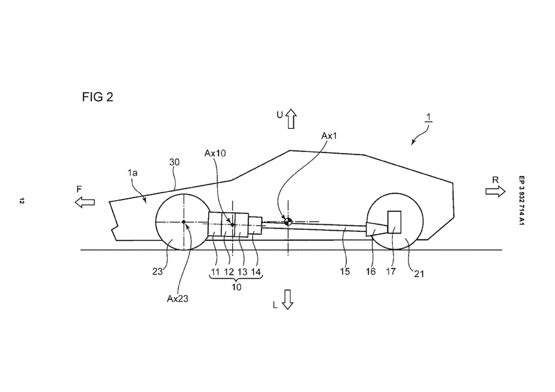
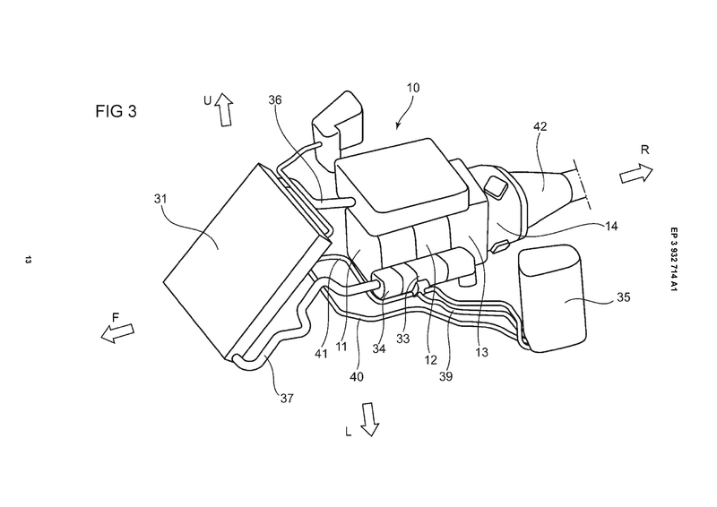
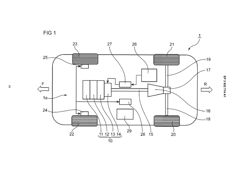
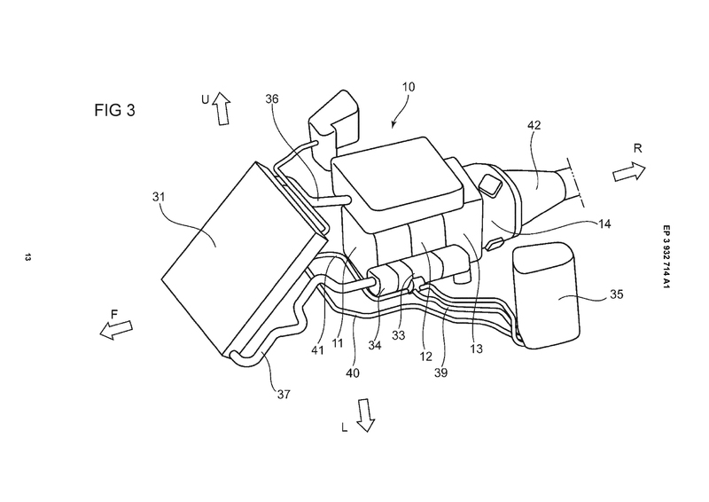
รายละเอียดคร่าวๆ ของสิทธิบัตรนี้เผยให้เห็นถึงการวางลักษณะของระบบส่งกำลังในรูปแบบการวางเครื่องยนต์ 3-rotor ไว้ทางด้านหน้า พ่วงกับเกียร์แบบ transaxle (ระบบที่รวมชุดเกียร์ เพลา และเฟืองท้ายเข้าด้วยกัน) แบบที่รถสปอร์ตขับเคลื่อนล้อหลังนิยมใช้กัน และจะเสริมด้วยมอเตอร์ไฟฟ้าแบบติดตั้งไปกับเพลาล้อ ทำให้กลายเป็นระบบไฮบริดแบบ 48 V
เมื่อพิจารณาความเป็นไปได้ทั้งหมด การกลับมาของเครื่องยนต์แบบโรตารี่ก็พอมีมูลเหตุอยู่บ้าง เนื่องจาก Mazda มีแผนที่จะนำไปใช้เป็น range extender สำหรับรถยนต์ไฟฟ้าโมเดล MX-30 อีกทั้ง Mazda กำลังเตรียมเผยโฉมรถยนต์ขับเคลื่อนล้อหลังขุมพลัง 6 สูบเรียง พ่วงระบบ mild hybrid หรือ plug-in hybrid อีกหลายรุ่นในอนาคตอันใกล้นี้ สำหรับรถสปอร์ตต้นแบบที่ดูจะมีความเป็นไปได้กับแนวคิดนี้ ก็คงจะหนีไม่พ้นเจ้า RX-Vision concept ที่เปิดตัวไปแล้วพักใหญ่ ตั้งแต่ปี 2015 ในงาน Tokyo Motor Show สามารถดูเพิ่มเติมได้ที่: https://www.headlightmag.com/2015_tokyo_motor_show/
ถึงแม้จะมีอุปสรรคและข้อจำกัดทางมลพิษ โดยเฉพาะ Euro 7 ที่จะถูกบังคับใช้ในปี 2025 นี้ ทำให้ใครหลายคนเริ่มหวั่นใจกับการมาถึงของรถสปอร์ตขับหลัง แต่เมื่อแฟนๆ Mazda ได้เห็นสิทธิบัตรอันนี้ก็คงจะชื้นใจขึ้นมาบ้าง
