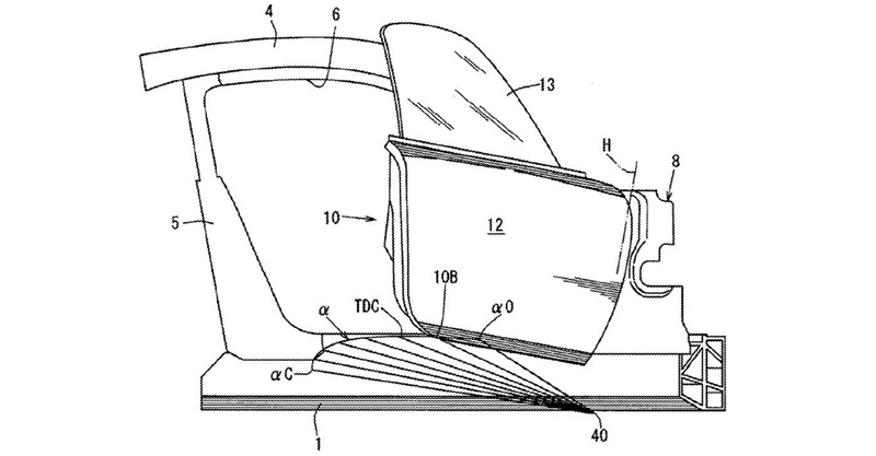
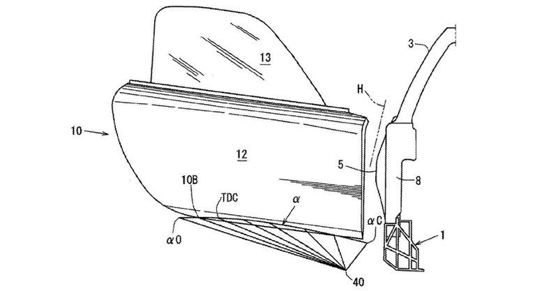
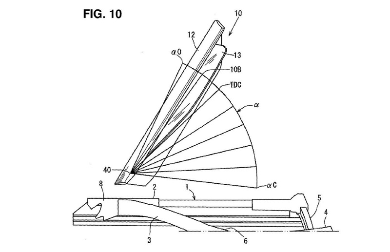
ทางเดินเท้าคือศัตรูตัวฉกาจของรถยนต์ที่มีความสูงใต้ท้องรถยนต์ต่ำกว่าคันอื่น เพราะมีโอกาสสูงที่ชายล่างของประตูจะไปกระแทกเข้ากับทางเท้า ทำให้เกิดนวัตกรรมที่เรียกว่า Sway Door หรือประตูที่ยกองศาเล็กน้อยเวลาเปิดเพื่อเลี่ยงไม่ให้เกิดความเสียหาย และในตอนนี้ Mazda ได้จดสิทธิบัตรประตูดังกล่าวแล้ว
ต้องอธิบายก่อนว่าประตู sway door ที่ Mazda จดสิทธิบัตรไปนั้นไม่ใช่ประตูปีกนก ที่เปิดด้วยการยกขึ้นทั้งบาน แต่ประตูของ Mazda ยังคงเปิดด้วยการดึงเข้าหาตัวเหมือนประตูรถยนต์ทั่วไป เพียงแต่ว่าจะมีกลไกในการยกบานประตูให้สูงขึ้นเล็กน้อย เพื่อไม่ให้ชนกับสิ่งกีดขวางนั่นเอง
อันที่จริงประตู Sway door ได้ประจำการอยู่ใน Aston Martin ทุกรุ่นอยู่แล้ว ซึ่งไม่น่าแปลกใจอะไรเพราะความสูงใต้ท้องของรถยนต์ค่ายนั้น แทบจะเตี้ยติดดินทุกคัน สำหรับจุดที่แตกต่างกันของนวัตกรรมประตูระหว่าง 2 ค่ายนี้คือประตู sway door ของ Aston Martin จะยกขึ้น 12 องศาแต่ของ Mazda ยกขึ้น 15 องศา
อย่างไรก็ตาม ไม่มีข้อมูลระบุว่า Mazda ตั้งใจจะนำประตู sway door ไปใช้กับรถยนต์รุ่นใดในอนาคต ทำให้มีการวิเคราะห์ในบรรดาสำนักสื่อต่างชาติว่า มีโอกาสที่รถยนต์คันผลิตจริงของ Mazda RX Vision Concept หรือที่คาดว่าจะเป็น Mazda RX-9 จะได้ใช้ประตูแบบนี้จากโรงงาน เนื่องจากมีแต่รถสปอร์ตเตี้ยติดพื้นเท่านั้นที่ต้องใช้ sway door เพื่อเลี่ยงความเสียหาย ซึ่งจะจริงเท็จแค่ไหนต้องคอยติดตามชม
