ในปี 2017 มีการเปิดตัว Toyota GR HV Sports Concept ซึ่งหนึ่งในจุดเด่นของรถยนต์ต้นแบบขุมพลัง Hybrid คันนี้ คือเกียร์อัตโนมัติที่มีปุ่มกดเป็นแผงเรียงอยู่บนแดชบอร์ด แต่มีด้ามเกียร์ที่มีลักษณะเหมือนเกียร์ธรรมดา H-Pattern ล่าสุด มีโอกาสที่เทคโนโลยีนี้จะเป็นจริงหลัง Toyota จดทะเบียนสิทธิบัตรเทคโนโลยีที่เกี่ยวข้อง
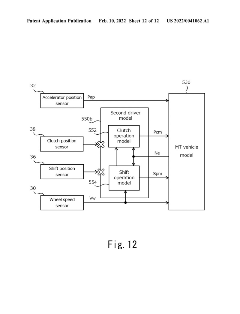
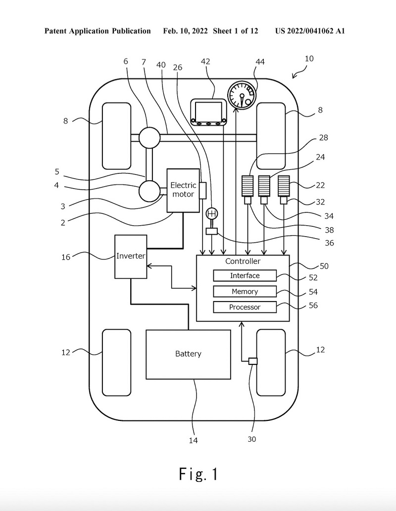
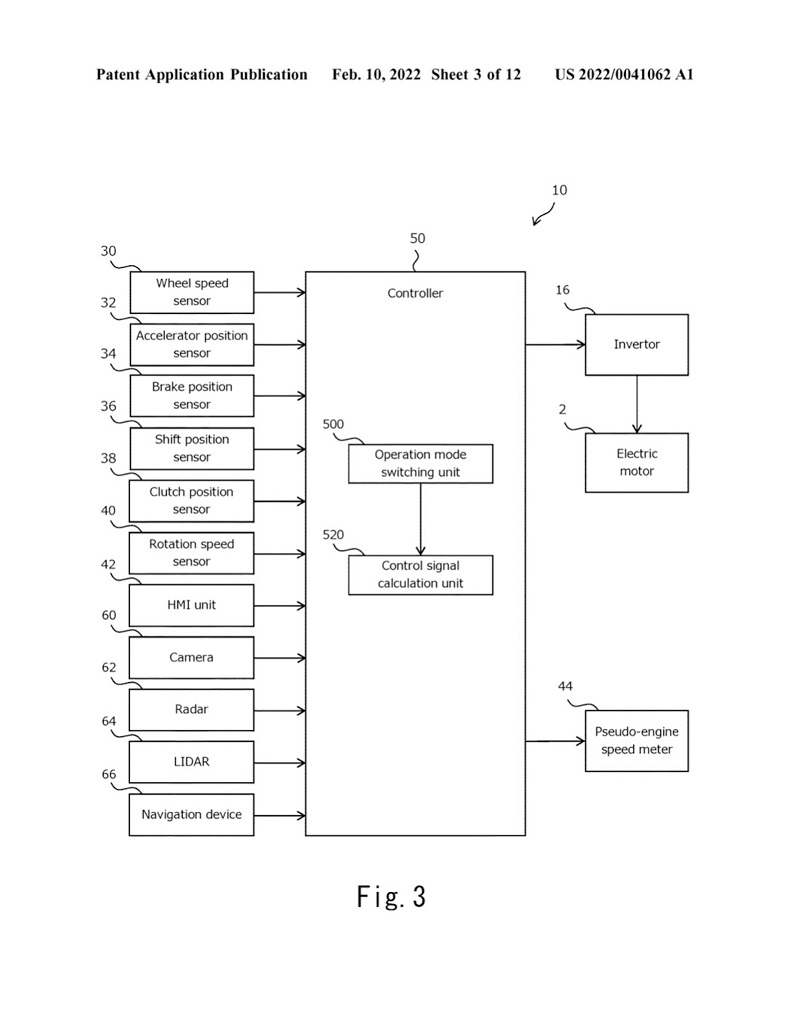
มีรายงานว่า Toyota ได้จดทะเบียนสิทธิบัตรเทคโนโลยี 8 รายการในปี 2021 ซึ่งรวมไปถึงแป้นคลัชต์จำลอง, ด้ามเกียร์จำลอง และ ระบบตัดแรงบิดเพื่อให้การตอบสนองเหมือนรถยนต์ ที่ใช้เครื่องยนต์สันดาปภายในพร้อมเกียร์ธรรมดา โดยในเอกสารระบุว่าอุปกรณ์ทั้งหมดนี้จะติดตั้งในรถยนต์ไฟฟ้า เพื่อให้ผู้ขับขี่เป็นผู้ควบคุมการเปลี่ยนเกียร์ อีกทั้งมีระบบคำนวณวัดรอบเครื่องยนต์จำลอง สำหรับแสดงผลให้ผู้ขับขี่ดูด้วย
เอกสารของ Toyota ระบุว่าเกียร์ธรรมดาจำลอง มีรูปแบบการทำงานสามรูปแบบ ประกอบด้วย ผู้ขับขี่ควบคุมการเปลี่ยนคลัชต์และเกียร์เอง, ผู้ขับขี่เปลี่ยนเกียร์เองอย่างเดียว เหมาะสำหรับการถอยจอดหรือการจราจรติดขัด และ ผู้ขับขี่ไม่ต้องเปลี่ยนคลัชต์หรือเกียร์เลย ซึ่งเอกสารระบุว่าในรูปแบบสุดท้าย รถยนต์ไฟฟ้าจะตอบสนองเหมือนรถยนต์ทั่วไปที่ใช้เกียร์อัตโนมัติ ไม่ได้เร่งเหมือน EV ทั่วไป
มีการวิเคราะห์ว่า Toyota อาจพัฒนาระบบนี้เพื่อเอาไว้ติดตั้งในรถยนต์ไฟฟ้า EV ที่เน้นสมรรถนะการขับขี่เป็นหลัก และแม้ว่ายังไม่สามารถยืนยันได้ว่า Toyota จริงจังกับเทคโนโลยีนี้เพียงใด แต่อย่างน้อยนักขับที่ชื่นชอบการเหยียบคลัชต์ยัดเกียร์ ก็น่าจะมีความหวังกันบ้างว่า ในอนาคตยังมีทางเลือกไว้ตอบสนองอยู่บ้าง
ที่มา: carscoops
อ่านรายละเอียด รถยนต์ต้นแบบ Toyota GR HV Sports Concept ได้ที่
>> https://www.headlightmag.com/news-toyota-gr-hv-sports-concept/
