สิ่งที่กำลังเป็นกระแสในตลาดรถยนต์ไม่ได้มีเพียงรถยนต์ไฟฟ้าเท่านั้น แต่ยังมีรถยนต์ SUV และรถกระบะที่มียอดขายเพิ่มขึ้นด้วย จึงไม่น่าแปลกใจอะไรที่จะเห็น SUV ขุมพลัง Hybrid มากขึ้น กลับกันเรายังไม่คุ้นชินกับกระบะ Hybrid เท่าใดนัก แต่ในอนาคตเราอาจจะได้เห็นรถยนต์ประเภทนี้มากขึ้น เนื่องจากผู้บริหารของ Toyota สหรัฐฯ เปิดเผยว่าพวกเขาสนใจในกระบะ Hybrid เช่นกัน
Ed Laukes ผู้ดำรงตำแหน่ง Vice President of Marketing ของ Toyota สหรัฐฯ เปิดเผยว่า ไม่มีเหตุผลอันใดเลยที่เราจะไม่ทำกระบะ Hybrid ออกจำหน่าย ยิ่งเราพยายามที่จะลดอัตราสิ้นเปลืองเชื้อเพลิงในรถยนต์ทุกรุ่นด้วยแล้ว ทุกทางเลือกย่อมถูกนำมาพิจารณา นอกจากนั้น Laukes ยังเปิดเผยด้วยว่า Toyota กำลังพัฒนา platform แบบ body on frame รุ่นใหม่อยู่ เพื่อให้แข่งขันในตลาดได้ดีขึ้น
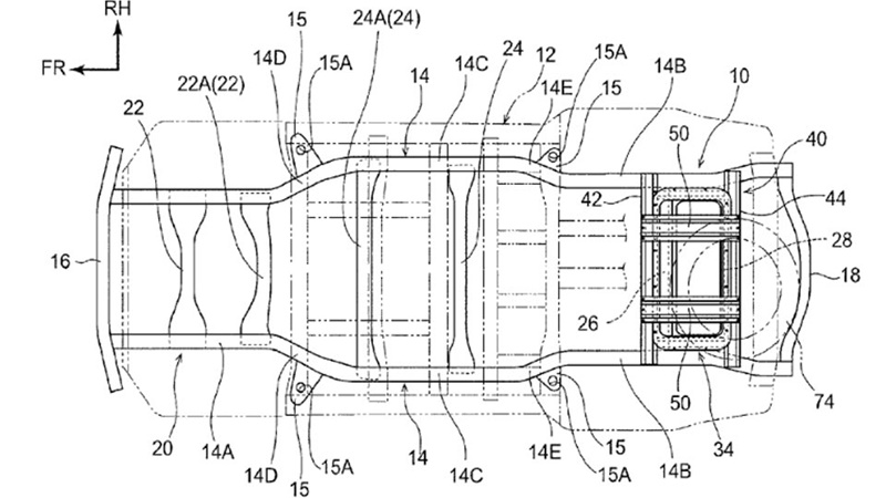
อย่างไรก็ตาม ไม่มีการเปิดเผยข้อมูลว่า platform แบบใหม่ที่กำลังพัฒนานี้จะรองรับขุมพลัง Hybrid หรือไม่ แต่ในเดือนสิงหาคมที่ผ่านมา Toyota ได้จดสิทธิบัตร platform แบบ body on frame ที่ออกแบบมาโดยเฉพาะ ให้รองรับแบตเตอรี่เพิ่มสำหรับขุมพลัง Hybrid ซึ่งถ้า Toyota เอาจริงกับแนวคิดกระบะ Hybrid อาจเป็นไปได้ว่า Toyota จะเริ่มกับ Tacoma, Sequoia และ 4Runner ก่อน
ส่วน Hilux และ Land Cruiser นั้นอาจจะมีขุมพลัง Hybrid เช่นกัน เนื่องจากรถยนต์ทั้ง 2 รุ่นนี้ล้วนใช้ platform แบบ body on frame ทั้งคู่ นอกจากนั้น เรายังเคยรายงานว่า Toyota อินเดียมีแผนที่จะนำระบบ Hybrid มาติดตั้งใน Innova Crysta และ Fortuner ที่มีพื้นฐานเดียวกับ Hilux ด้วย ดังนั้นแนวคิดกระบะ Hybrid จึงมีความเป็นไปได้ และเป็นสิ่งที่ต้องติดตามต่อว่าเราจะได้ใช้ Hilux Hybrid ในอนาคตหรือไม่!?
ที่มา: autonews, autoindustriya
อ่านข่าว Toyota มีแผนส่ง Fortuner Hybrid – Innova Crysta Hybrid เข้าสู่ตลาด ได้ที่
