‘ใคร ๆ ก็บินได้’ อาจไม่ใช่สโลแกนของสายการบินราคาถูกชื่อดังรายหนึ่งอีกต่อไป
ในอนาคตข้างหน้าสัก 25 ปีขึ้นไป ทุกคนอาจบินได้จริง ๆ

แต่พาหนะที่บินได้นั้นมิใช่เครื่องบินโบอิ้งลำยักษ์อะไร แต่เป็น “รถบินส่วนบุคคล”
ขอย้ำนะครับ มันไม่ใช่รถยนต์ส่วนบุคคล มันคือ “รถบินส่วนบุคคล”

2016_06_28_Toyota_Flying_Car_1 2016_06_28_Toyota_Flying_Car_2 2016_06_28_Toyota_Flying_Car_3 2016_06_28_Toyota_Flying_Car_4

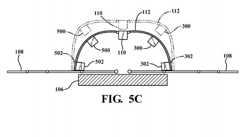
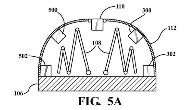
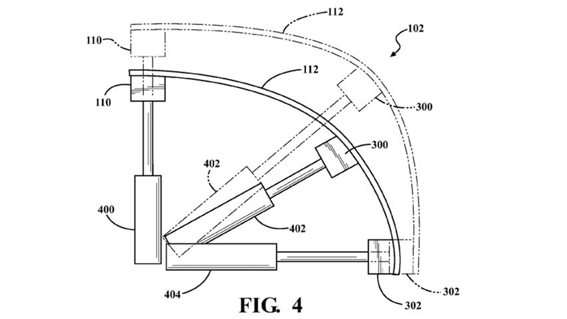
Toyota ได้จดสิทธิบัตรรถยนต์บินได้ซึ่งแต่ละชิ้นส่วนก็แอบซ่อนเทคนิคอะไรบางอย่าง
เอาไว้ที่มองไม่เห็นด้วยตาเปล่า อาทิ ปีกรถบินที่แอบซ่อนในตัวถังที่สามารถแปลงร่าง
จากรถยนต์กลายเป็นรถบินได้ทันที, เฟรมโครงสร้างตัวถังบางชิ้นสามารถขยายตัวออก
บนวัสดุที่ยืดหยุ่นซึ่งจำเป็นต้องออกแบบให้มีเนื้อที่จัดเก็บกลไกภายในห้องโดยสารได้

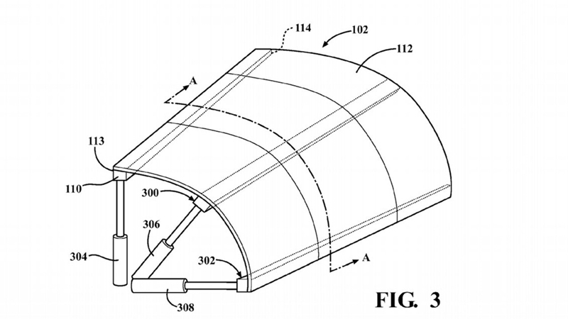
รถยนต์บินได้คันนี้ถูกออกแบบตามหลักอากาศพลศาสตร์อย่างเคร่งครัดเปรียบเสมือน
อากาศยานชนิดหนึ่ง

2016_06_28_Toyota_Flying_Car_5 2016_06_28_Toyota_Flying_Car_6 2016_06_28_Toyota_Flying_Car_7

ก็น่าแปลกที่ Toyota จดสิทธิบัตรรถยนต์บินได้ในสหรัฐอเมริกามาตั้งแต่เดือนธันวาคมปี
2014 และจดทะเบียนเครื่องหมายการค้าในเดือนมิถุนายน 2016

ก็ไม่แน่ว่ารถยนต์ขับขี่อัตโนมัติอาจเป็นแค่อนาคตระยะกลาง ส่วนอนาคตระยะไกลโพ้น
คงจะเป็น “รถยนต์บินได้ขับขี่อัตโนมัติ”

ที่มา : Motor1